説明
【特徴】
●パネル固定用として最適です。
●RoHS対応品
【仕様】
●メーカー:イマオコーポレーション
●型番:TKN3-SUS
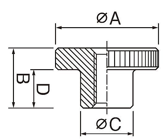
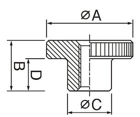
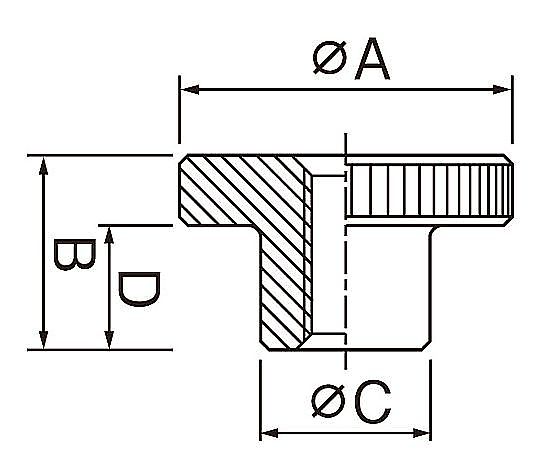
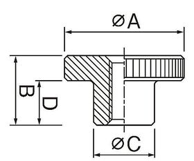
●ねじサイズ:M3
●グリップ径(A):12mm
●ハンドル全高(B):7.5mm
●材質:ステンレス製(SUS303)
●質量:6g
追加情報
メーカー型番:
EA948BW-211
予定納期:
通常1~3日で発送
© 2026 © Rakuten Group, Inc.
