説明
【特徴】
●びょうのかさがプラスチックのものや金属のものもある。
●上敷きが固定され、しわにならない
●カーペット、上敷きなどの固定
●畳の部屋の敷物を各箇所で固定する。
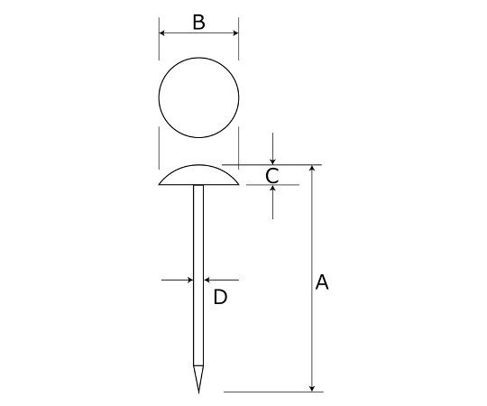
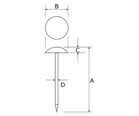
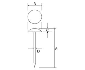
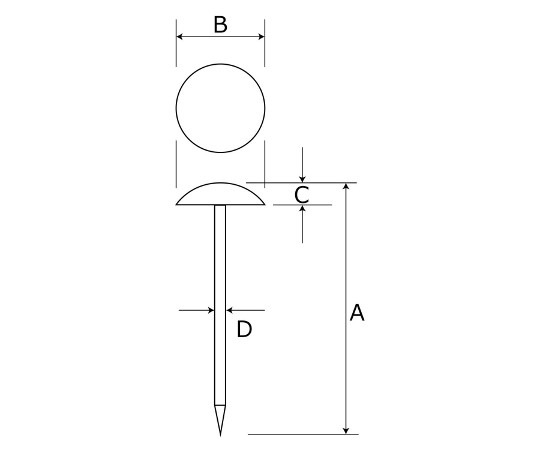
【仕様】
●カラー:ベージュ
●A(mm):33.3
●B(mm):14
●C(mm):3.5
●D(mm):1.4
●材質:頭部/スチロール、足部/スチール
●入数:50本入
追加情報
メーカー名:
和気産業
メーカー品番:
BS-424
予定納期:
注文から1~3日で発送
