説明
【特徴】
●球状フィルターのため、気体の噴射面積が広い。
●フィルターの細孔が均一なため、気体が均一に拡散します。
●ホウケイ酸ガラス製のため、酸などの薬品に侵されることがありません(フッ酸、リン酸、約40℃以上のアルカリ溶液除く)。
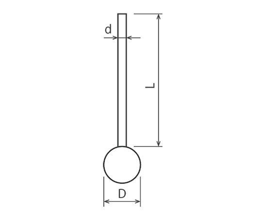
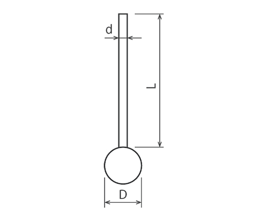
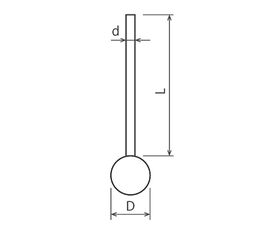
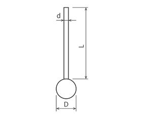
【仕様】
●フィルター径(D):Φ10
●管外径(d):6mm
●管長(L):250(±5)mm
●細孔:粗目
●材質:ホウケイ酸ガラス
●推奨使用圧力値:0.01MPa以下
追加情報
メーカー名:
旭製作所
メーカー品番:
3907-10/1
予定納期:
注文から1~3日で発送
