説明
【特徴】
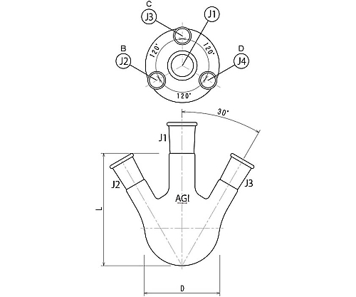
●四ツ口のフラスコです。
●L寸法は目安寸法です。
【仕様】
●容量:200mL
●J:29/42
●J2,J3,J4:15/25
●D:Φ 80
●L:110
●側管傾斜角度:30°
●材質:ホウケイ酸ガラス
追加情報
メーカー名:
        
        旭製作所
        メーカー品番:
        
        3112-200-5L1L
        予定納期:
        
        注文から1~3日で発送
         
    
            