説明
【特徴】
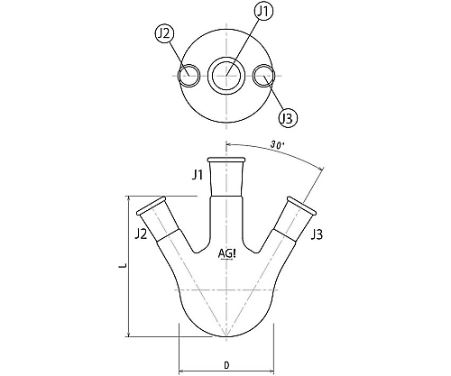
●三ツ口のフラスコです。
●L寸法は目安寸法です。
【仕様】
●容量:100 mL
●J:29/42
●J2,J3:15/25
●D:Φ 65
●L:95
●側管傾斜角度:30°
●材質:ホウケイ酸ガラス
追加情報
メーカー名:
        
        旭製作所
        メーカー品番:
        
        3110-100-5L1L
        予定納期:
        
        注文から1~3日で発送
        © 2025 © Rakuten Group, Inc.
